首页
财务软件
视频演示
下载软件
财务应用插件
扩展模块
报表模板
报表函数
模板账套
演示账套
其他资源
分类搜素
文档
登录
首页
功能发布和公告
正文
(新功能)全量发票采集和自动生成记账凭证
详情介绍
常见问题
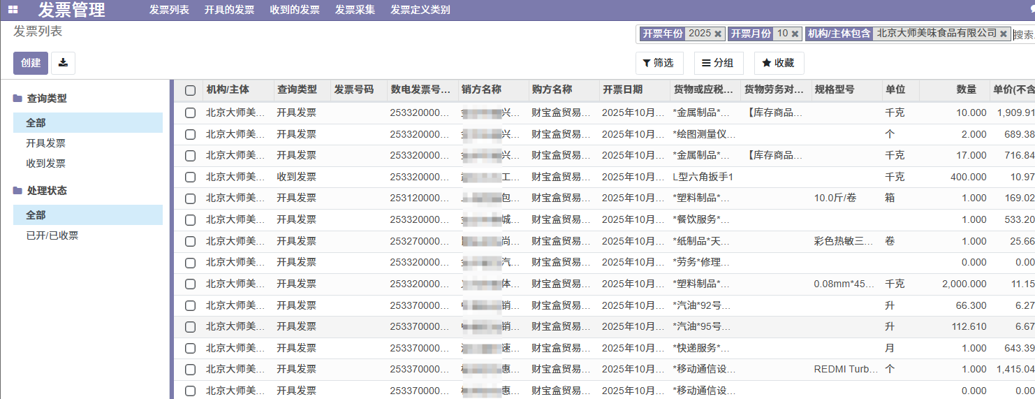
采集电子税务局导出的excel全量发票到系统,通过指定业务模型可批量生成记账凭证。分按单,批量逐行和分组汇总三种方式
声明:如若本站内容侵犯了原著者的合法权益,可联系我们进行处理。
公告
财宝盒
分享
收藏
点赞(
0
)
付款后无法显示下载地址或者无法查看内容?
如果您已经成功付款但是网站没有弹出成功提示,请联系站长提供付款信息为您处理,联系QQ:1847409602,微信号:www88v88vcom
提示下载完但解压或打开不了?
最常见的情况是下载不完整: 可对比下载完压缩包的与网盘上的容量,若小于网盘提示的容量则是这个原因。这是浏览器下载的bug,建议用百度网盘软件或迅雷下载。 若排除这种情况,可在对应资源底部留言,或联络我们。
找不到素材资源介绍文章里的示例图片?
对于会员专享、整站源码、程序插件、网站模板、网页模版等类型的素材,文章内用于介绍的图片通常并不包含在对应可供下载素材包内。这些相关商业图片需另外购买,且本站不负责(也没有办法)找到出处。 同样地一些字体文件也是这种情况,但部分素材会在素材包内有一份字体下载链接清单。
购买该资源后,可以退款吗?
源码素材属于虚拟商品,具有可复制性,可传播性,一旦授予,不接受任何形式的退款、换货要求。请您在购买获取之前确认好 是您所需要的资源
相关文章
功能发布和公告
财宝盒财务资源网站开始建设
将建成基于财宝盒会计软件的功能模块,报表函数,报表模块,演示账套和模板账套以及o...
53
VIP
报表函数
财务应用市场
修复20240908更新全部凭证的凭证号字段为空值的为0
下载文件,作为区域函数引入,然后在报表设计器添加区域函数向导中使用(通过报表计算...
267
1
VIP
推荐
财务应用市场
窗口客户端
窗口客户端工具提供把网页以窗口的形式打开. 提示:使用前务必360卫士添加对文件...
326
3
未分类
功能发布和公告
邀请部分用户注册
财宝盒网站建设,已邀请部分用户注册…….
232
功能发布和公告
(新功能)批量检查凭证号
在结转损益界面批量检查凭证号,显示最大最小号、重复号、断号,并可直接跳转到机构/...
20
功能发布和公告
出纳模块
财宝盒财务软件出纳模块,基于多机构的出纳资金余额表,资金日记账,自动生成记账凭证...
332
功能发布和公告
(功能增强)同时完美支持外币统账制和分账制核算
对外币核算进行了重大功能调整和升级 对外币处理需要安装外币模块。财宝盒的外币模块...
275
功能发布和公告
(新功能)接口新增推送启用期初记录
简单方便的接口
22